11月23日,安徽公示2025-2026年新能源增量项目机制电价竞价结果。
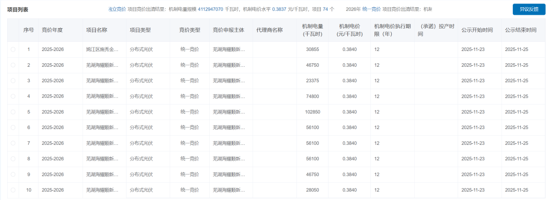
根据公示,本次独立竞价项目竞价出清结果:机制电量规模41.1295亿千瓦时,机制电价0.3837元/千瓦时,项目74个。
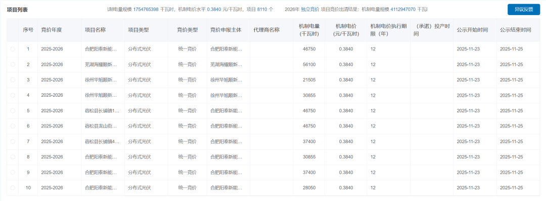
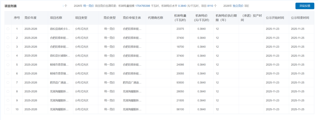
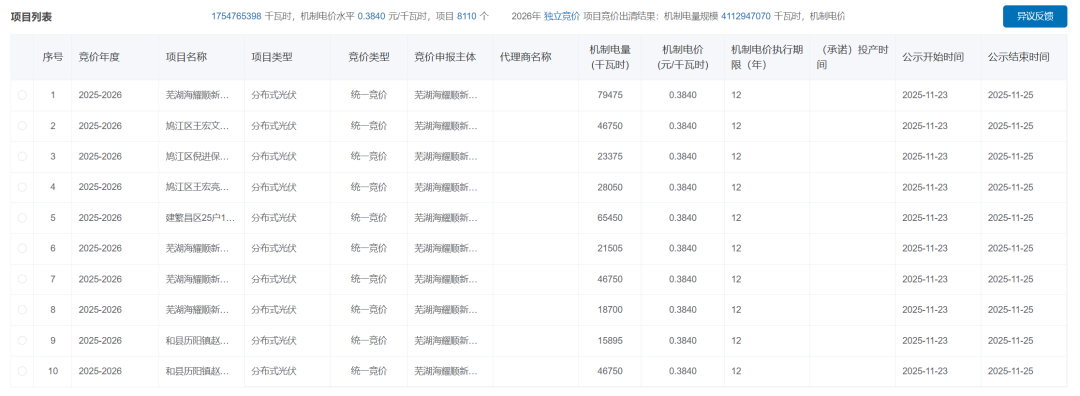
统一竞价项目出清结果:机制电量规模17.5477亿千瓦时,机制电价0.3840元/千瓦时,项目8110个。
本次入选风电项目共有13个,均为集中式风电项目。其中属于独立竞价类别的项目8个,属于统一竞价类别的项目5个。




(以上仅为部分项目,完整项目清单可登录新能源云查询)
欢迎来到我的站
11月23日,安徽公示2025-2026年新能源增量项目机制电价竞价结果。
根据公示,本次独立竞价项目竞价出清结果:机制电量规模41.1295亿千瓦时,机制电价0.3837元/千瓦时,项目74个。
统一竞价项目出清结果:机制电量规模17.5477亿千瓦时,机制电价0.3840元/千瓦时,项目8110个。
本次入选风电项目共有13个,均为集中式风电项目。其中属于独立竞价类别的项目8个,属于统一竞价类别的项目5个。




(以上仅为部分项目,完整项目清单可登录新能源云查询)
如果觉得文章对您有用,请随意打赏。
您的支持是我们继续创作的动力!
微信扫一扫
支付宝扫一扫
发表评论