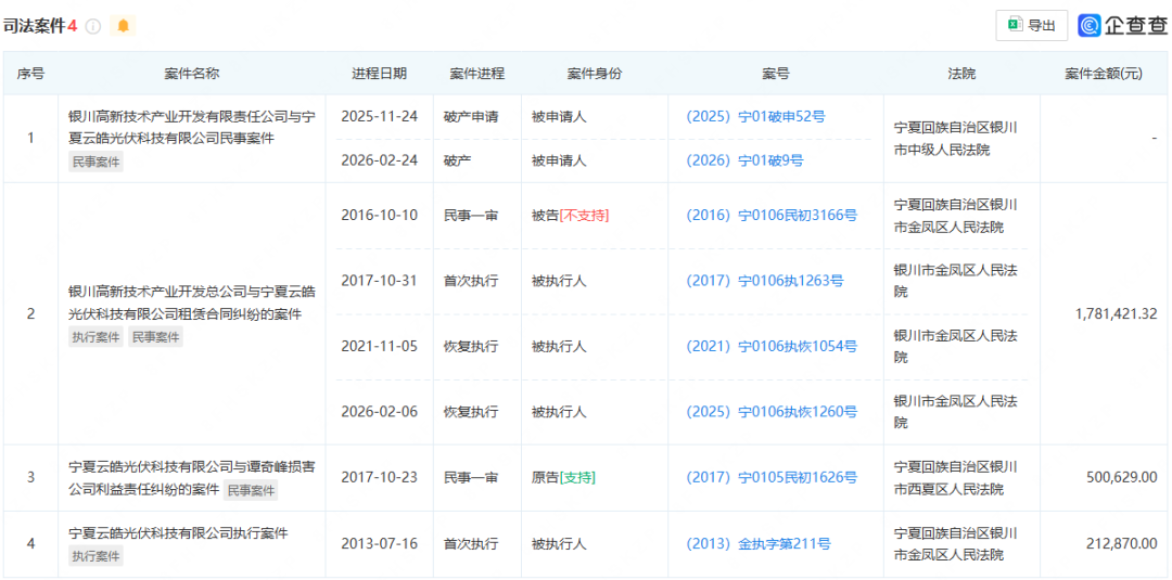
据全国企业破产重整案件信息网显示,宁夏云皓光伏科技有限公司的破产申请已被受理,企业正式进入破产程序。

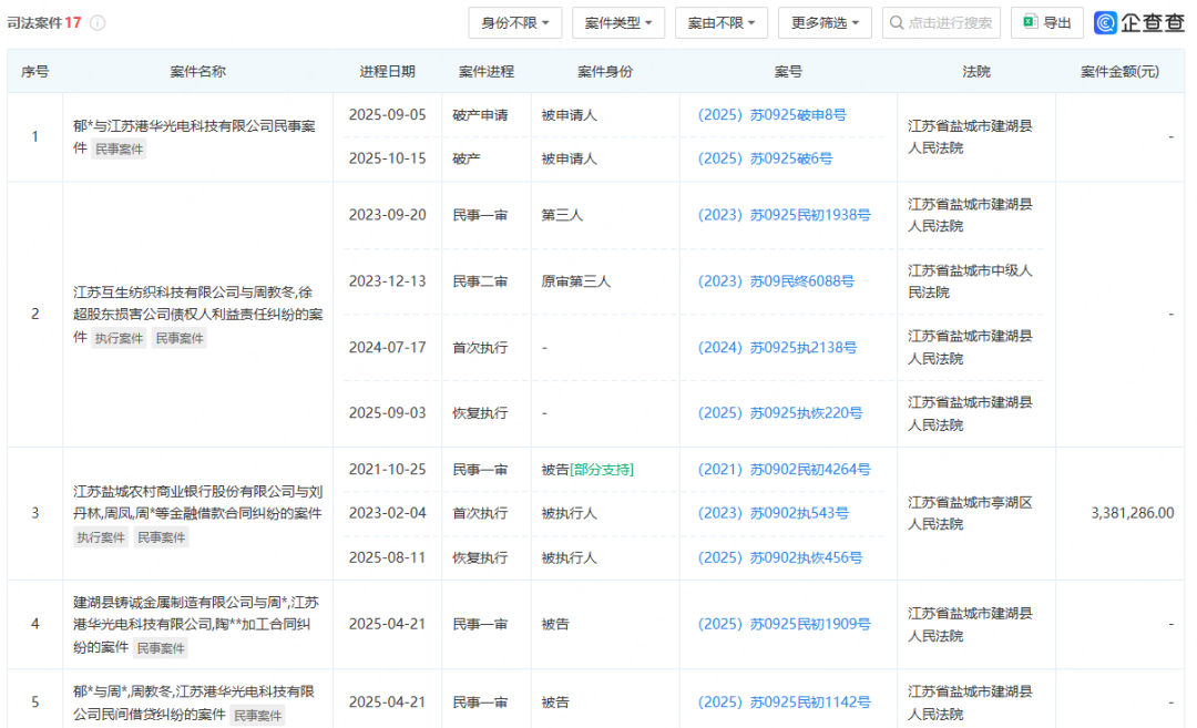
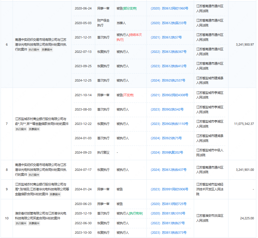
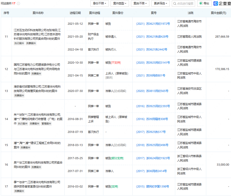
另一则公告则显示,江苏港华光电科技有限公司破产清算案公开选聘财务审计机构。

公开资料显示,宁夏云皓光伏科技有限公司成立于2011年3月,注册资本2000万元,经营范围包括高纯晶体硅材料的生产、提纯及销售。此前该企业曾涉及租赁合同纠纷,被列为失信被执行人,相关责任人被限制高消费。2月底,其破产申请进入法定程序。

江苏港华光电科技有限公司成立于2014年,许可项目包括太阳能发电设备技术研发、销售;电子元器件、变频器、传感器、光伏设备生产及销售。
据悉,该企业自2025年便进入破产重整程序,并陷入多起法律诉讼之中,案件身份也多为被申请人、被告、及被执行人。



原标题:2家光伏企业,破产!
发表评论