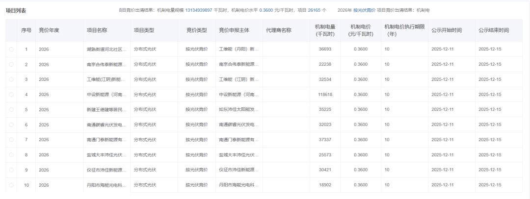
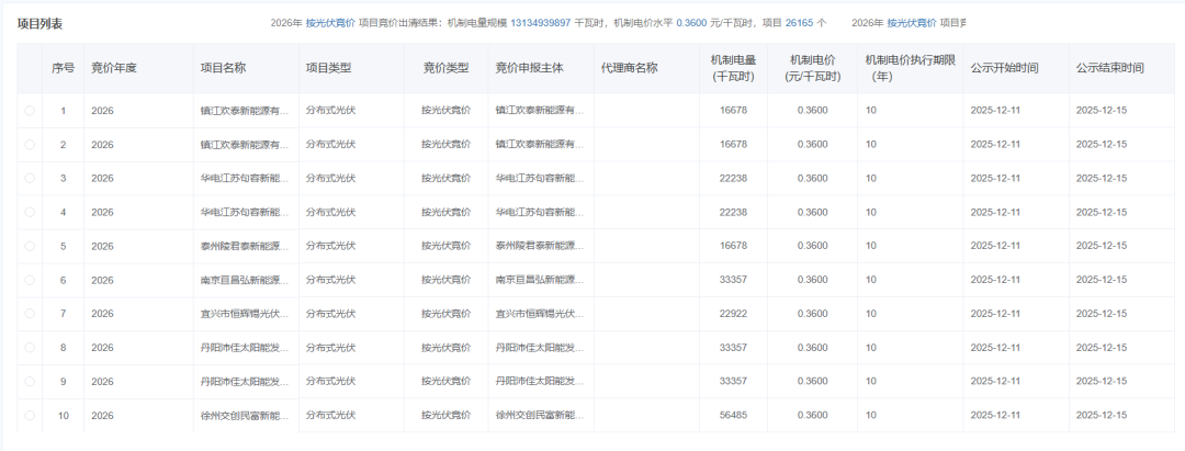
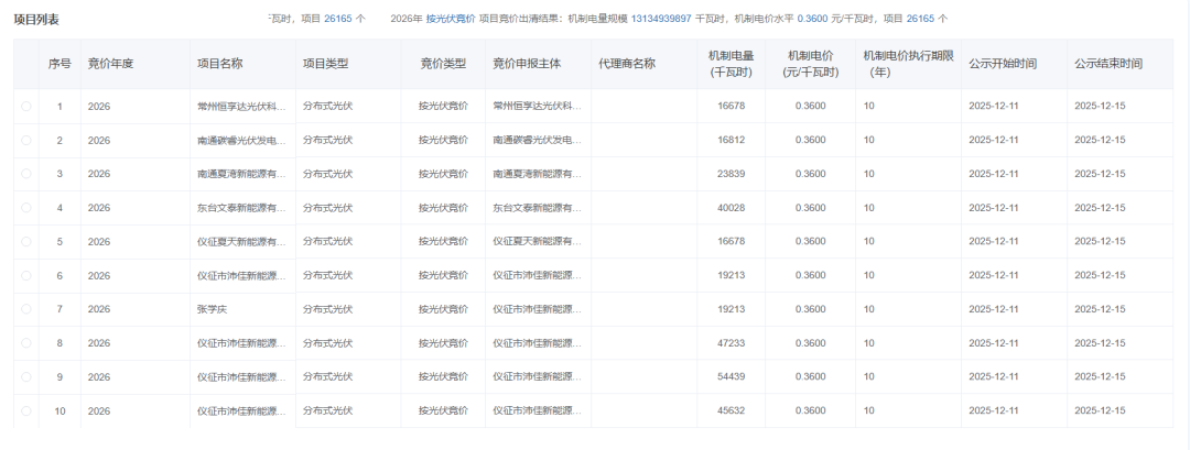
12月11日,国网新能源云公示江苏省机制电价竞价结果,光伏机制电价为0.36元/度。
根据公示结果,本次入围机制电量13134939897度,入围项目共26165个,其中集中式光伏项目为105个。
根据江苏136号文竞价文件,本次竞价机制电量总规模为130亿千瓦时,其中:“海上风电项目”类别为10亿千瓦时,“其他风电项目和光伏项目”类别为120亿千瓦时。
从机制电量来看,入围机制电量有所超额,海上风电项目则没有竞争,全部由光伏项目使用。
机制电价方面,“海上风电项目”类别竞价上限为0.391元/千瓦时,竞价下限为0.3元/千瓦时;“其他风电项目和光伏项目”类别竞价上限为0.391元/千瓦时,竞价下限为0.25元/千瓦时。
从机制电价来看,基本贴近价格上限。此外,单个项目竞价电量申报比例上限,不高于其预计年度上网电量的90%。执行期限上,“海上风电项目”类别为15年;“其他风电项目和光伏项目”类别为10年。
具体见下:全部项目点击跳转链接→江苏省机制电价竞价结果



原标题:江苏机制电价结果公示:0.36元/度、均为光伏,机制电量131亿度
发表评论