向日葵
  • 投资75亿!年产能33.6GWh动力电池系统生产线或将落地

    2025年10月20日,浙江省武义县人民政府发布公告,对“中凌新能源动力电池智能制造基地项目”环评文件作出审批意见。公告显示,该项目建设主体为中凌新能源科技(浙江)有限公司,选址定于武义县白洋街道开发区李丝塘水库南侧。项目总投资达75亿元,其中专项环保投资1.1565亿元,建成后将形成年产能33.6GWh的动力电池系统生产线。据了解,中凌新能源科技(浙江)有限公司于今年8月成立,公司法定代表人为何...

  • 17家企业入围!中国电气装备储能电池集采成交人名单公布

    北极星储能网获悉,10月27日,中国电气装备集团有限公司储能电池(入围)规模集中采购项目成交人名单公告。本次采购项目划分4个标包,每个标包均各有9家企业入围,共17家企业。其中,包1共有企业9家,包括山东电工时代能源科技有限公司、平高集团储...

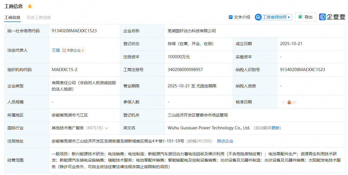
  • 注册资本10亿元!国轩高科成立动力科技公司

    北极星储能网从企查查获悉,10月21日,芜湖国轩动力科技有限公司成立,法定代表人为王强,注册资本为10亿元,经营范围包含:电池销售;电池制造;电池零配件生产;资源再生利用技术研发;新能源汽车换电设施销售等。企查查股权穿透显示,该公司由国轩高...

  • 塔筒升降机运行六年,为什么需要“大”保养?

    提升机是升降机的动力之源,而安全锁则是升降机的安全核心,这两大核心部件就如同民用电梯的曳引机与安全制动钳、汽车的发动机与制动系统,直接关乎人员与设备的安全。升降机大保养不同于常规的年检,它是一场针对这两大核心部件的“预防性保养”。运行六年后,通过系统化地维护或更换提升机与安全锁的核心部件,消除设备的安全隐患,让设备重归最佳状态。01保障人身安全在风电塔筒内部...

  • 4.07亿元!这家公司投资建设2个风电项目

    北极星风力发电网获悉,10月28日,河南中孚实业股份有限公司(以下简称“中孚实业”或“公司”)发布《关于全资二级子公司投资建设源网荷储一体化风电项目的公告》。公告披露,根据公司“绿色化”发展方向,为进一步优化公司能源消费结构,中孚实业全资二...

  • 0.375元/kWh!江西机制电价竞价结果公示

    10月28日,国网新能源云公示江西机制电价竞价结果,共433个项目入围,其中光伏429个项目,机制电价0.33元/度,机制电量规模130566.325兆瓦时;风电项目4个,机制电价0.375元/度,机制电量规模461741.962兆瓦时。根...